
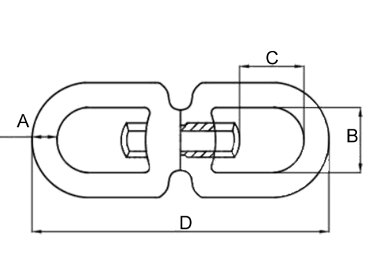
| Part No. | Size | Dimensions(mm) | |||
| mm | A | B | C | D | |
| KEAES040 | 4 | 4 | 11.5 | 13 | 50 |
| KEAES050 | 5 | 5 | 13 | 14 | 60 |
| KEAES060 | 6 | 6 | 14.5 | 15.5 | 66.5 |
| KEAES080 | 8 | 8 | 19.5 | 21.5 | 90 |
| KEAES100 | 10 | 10 | 23.5 | 26 | 112 |
| KEAES130 | 13 | 13 | 33 | 33.5 | 148 |
| KEAES160 | 16 | 16 | 38 | 42.5 | 186 |
| KEAES200 | 20 | 20 | 40.5 | 51 | 223 |
| KEAES220 | 22 | 22 | 48.5 | 61 | 258 |
| KEAES250 | 25 | 25 | 65 | 73 | 290 |